Construction Cycle 8 (CC8)

Construction Cycle 8 (CC8) is the umbrella designation for four rigid pavement experiments built at the National Airport Pavement Test Facility (NAPTF), constructed in phases between 2015 and 2017 and tested starting in 2016. Rigid pavements were constructed on areas of medium-strength (California Bearing Ratio (CBR) 8) and low-strength (CBR 3) subgrade. The tests are described as follows:

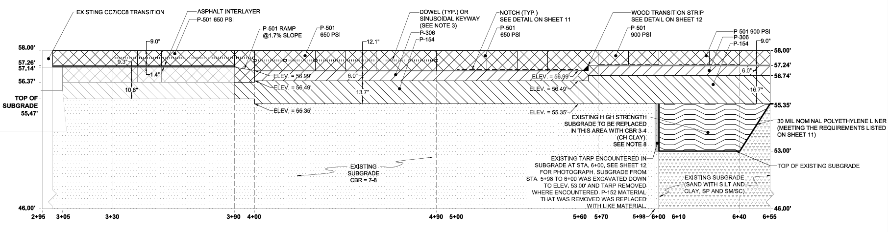
CC8 Phase 1 Overload & Phase 2 Overlay Test Area:

Phase 1 was designed to develop rational overload criteria for rigid pavements. Two identical rigid test items were tested at full scale. The north test item received only the design traffic, while the south test item was first subjected to a series of heavy overloads. Phase 2 utilized the damaged Portland Cement Concrete (PCC) surface from Phase 1, which was overlaid with a new PCC surface.

CC8 Phase 3 Joint Comparison Test Area:

Phase 3 compared the performance of Type E (doweled construction) and nonstandard sinusoidal keyed longitudinal joints in rigid (concrete) pavement.

CC8 Phase 4 Strength & Fatigue Test Area:

Phase 4 is a series of tests designed to obtain slab strength (rupture strength) for full-scale slabs under a monotonically increasing aircraft gear load, as well as the fatigue strength of rigid pavement slabs under non-wandered traffic. Experimental variables include: concrete strength, slab thickness, subgrade strength, and gear configuration (single wheel versus dual).

 

The construction plan and profile drawings are shown below and provide the general physical characteristics of the experimental pavement sections for all four phases. 

 

CC8 Plan View (Click to Zoom)

 

CC8 Profile View (Click to Zoom)

 

CC8 Phase 1 Overload Test & Phase 2 Unbonded Overlay Test

Both Phase 1 and Phase 2 occupied the area between station (STA) 3+00 and STA& 3+90.

 

CC8 Phase 1 (Overload Test) included the full-scale construction and instrumentation of an aggregate base and Portland cement concrete (PCC) pavement.

 

CC8 Phase 2 (Unbonded Overlay Test) utilized the damaged surface of Phase 1 as a base pavement for overlay construction. Phase 2 included the construction of a new asphalt interlayer and PCC overlay pavement on top of the post-test Phase 1 test pavement.

 

The primary objective of the CC8 Phase 1 Overload Test was to perform full-scale tests to develop rational overload criteria for rigid pavements. The results would be compared to the current International Civil Aviation Organization (ICAO) Annex 14 criteria for rigid pavements, which allow occasional overloads by aircraft with an aircraft classification number (ACN) up to 5% above the reported pavement classification number (PCN). The target pavement condition at the end of the Phase 1 test was SCI = 80, to facilitate the Phase 2 test described below.

 

The primary objective of the CC8 Phase 2 Overlay Test was to test the performance of a PCC overlay on an existing PCC with Structural Condition Index (SCI) in the 50-80 range. The specified SCI range was intended to fill significant gaps in data from previous NAPTF rigid overlay tests (CC4), which considered only new (SCI = 100) and highly deteriorated (SCI = 40) base pavements. Performance data from this test, as well as from the CC4 full-scale tests, will be used to improve FAARFIELD models for rigid-on-rigid overlays. FAARFIELD, which stands for FAA Rigid and Flexible Iterative Elastic Layered Design, is the standard thickness design software recommended in FAA specifications.

CC8 Phase 3 Joint Comparison Test

CC8 Phase 3 Joint Comparison Test occupied the area between STA 4+00 and STA 5+00. A total of 24 15-foot by 15-foot conventional PCC slabs were constructed and divided into four groups, with each group representing a different combination of longitudinal and transverse joint types.

 

The primary objective of the CC8 Phase 3 Joint Comparison Test was to compare the performance between Type E (doweled construction) and nonstandard sinusoidal keyed longitudinal joints.

 

Currently, Type E is the only standard joint available for longitudinal construction joints. In field applications, European contractors have experienced success using the S-keyway along longitudinal joints. If the S-keyway can be shown to provide similar performance in testing, it may be considered as an alternative to doweling.

 

Additionally, this section would provide a comparison of the performance of Type C (doweled contraction) and Type D (dummy) transverse joints. It has become the de facto practice for many engineers to install dowels at all transverse contraction joints, even though this is not required by FAA standards. Tests will verify whether there is any benefit to this in terms of fatigue life.

CC8 Phase 4 Strength & Fatigue Test

CC8 Phase 4 Strength & Fatigue Test occupied the area between STA 5+00 and STA 6+55. Three sections were constructed with varying strengths and thickness:

 

  • PCC with lower flexural strength but greater thickness on higher strength subgrade
  • PCC with higher flexural strength but lower thickness on higher strength subgrade
  • PCC with higher flexural strength but lower thickness on lower strength subgrade

 

The primary objectives of the CC8 Phase 4 Strength & Fatigue Test are:

 

  • Obtain slab strength (rupture strength) for full-scale slabs under a monotonically increasing aircraft gear load.
  • Evaluate strength results for consistency with FAARFIELD design inputs, which are based on ASTM C78 beam tests.
  • Evaluate the fatigue performance of slabs under full-scale, non-wandered loading.
  • Evaluate the effect of higher strength/thinner slabs vs. lower strength/thicker slabs on rigid pavement fatigue performance, and compare the results to FAARFIELD’s rigid failure model.

 

As a secondary objective, the Strength & Fatigue Test will assist in evaluating the effect of modulus of subgrade reaction (k-value) versus CBR in characterizing subgrade support for rigid pavement performance.

 

CC8 construction, testing, and results in the form of webpages, photographs, reports, and databases can be found in the table below.

 

Construction

 

Traffic Testing

Test Objective

Phase 1 Overload Test

Phase 2 Overlay Test

Phase 3 Joint Comparison Test

Phase 4 Strength & Fatigue Test

Phase 1 Overload Traffic Test

Gear Configuration

Pre Trafficking

Full Scale Trafficking

Wander Pattern

Pavement Monitoring

Phase 2 Overlay Traffic Test

Gear Configuration

Pre Trafficking

Full Scale Trafficking

Wander Pattern

Pavement Monitoring

Phase 3 Joint Comparison Traffic Test

Gear Configuration

Pre Trafficking

Full Scale Trafficking

Wander Pattern

Pavement Monitoring

Phase 4 Strength & Fatigue Outer Lanes Traffic Test

Gear Configuration

Pre Trafficking

Full Scale Trafficking

Wander Pattern

Pavement Monitoring

Phase 4 Strength & Fatigue Inner Lanes Traffic Test

Gear Configuration

Pre Trafficking

Full Scale Trafficking

Wander Behavior

Pavement Monitoring

Daily Notes

Phase 1 Overload Test

Phase 2 Overlay Test

Phase 3 Joint Comparison Test

Phase 4 Strength & Fatigue Test

Traffic Testing Photographs

 

Results & Analysis